你的位置:开云官网切尔西赞助商(2025已更新(最新/官方/入口) > 新闻动态 > 体育游戏app平台小红书国际版名为“REDnote”-开云官网切尔西赞助商(2025已更新(最新/官方/入口)
发布日期:2026-03-19 15:51 点击次数:85

该公司苦求的通信就业、社会就业类“REDnote”已奏效注册体育游戏app平台,其余商标被驳回应审
标点财经、投资技巧网快讯
据报谈,近日,国际TikTok用户涌入。一些异邦网友发现,马斯克的母亲梅耶马斯克也在小红书开了账号,激勉网友热评。据悉,小红书国际版名为“REDnote”。
天眼查App露馅,小红书科技有限公司已于2024年5月苦求注册多枚“REDnote”商标,国际分类波及通信就业、熟练文娱、科学仪器等。近期,该公司苦求的通信就业、社会就业类“REDnote”已奏效注册,其余商标均已被驳回应审。
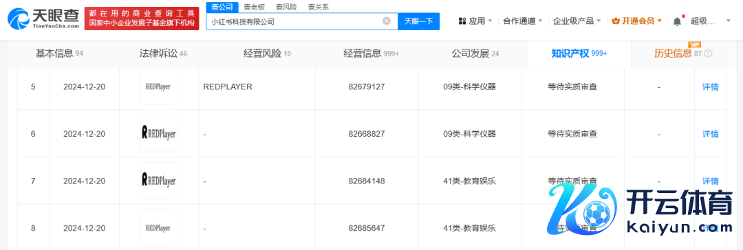
值得珍贵的是,近日,小红书科技有限公司苦求注册了多枚“REDPlayer”商标,国际分类波及科学仪器、熟练文娱,现时商标气象均为恭候本色审查。

Powered by 开云官网切尔西赞助商(2025已更新(最新/官方/入口) @2013-2022 RSS地图 HTML地图